首页 > 其他资讯 > 苹果Vision Pro头显模块化专利曝光,要续航还是体验由你定

苹果Vision Pro头显模块化专利曝光,要续航还是体验由你定

时间:26-04-26

苹果模块化头显专利解析:Vision Pro或将重塑可穿戴设备形态

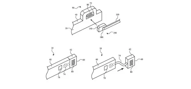
苹果最新获批的一项专利,揭示了头戴设备领域一个极具前瞻性的技术方向。这份长达28页、标题为《可连接配件的头戴式设备》的专利文件,核心阐述了一种模块化设计哲学:未来的头显设备将不再是一个功能固化的封闭整体,而是演变为一个可扩展的硬件平台。用户能够根据特定场景需求,通过标准化接口自由连接各类功能模块,实现设备性能与形态的个性化定制。

免费影视、动漫、音乐、游戏、小说资源长期稳定更新! 👉 点此立即查看 👈


该设计直接回应了当前一体式头显面临的核心矛盾——性能、续航与佩戴舒适度的权衡。专利中给出了清晰的用例:追求轻量化体验的用户,可选用小容量电池模块以减轻颈部负担;而需要长时间进行户外作业或沉浸式工作的用户,则可更换高能量密度电池来延长续航。甚至,为满足极端续航需求,用户可选择搭载低功耗显示面板的模块。这种将硬件配置主导权交还给用户的策略,是解决多元化需求的高效路径。


模块化架构的潜力远超消费级娱乐范畴。专利重点提及,设备将配备高带宽、低延迟的数据接口,以支持第三方制造商开发专业级功能模组。这预示着在医疗影像诊断、工业精密测量、科研可视化等专业领域,专用的生物传感器、高精度光学镜头或热成像模组均可通过该接口与头显核心单元连接,从而开辟出庞大的企业级与垂直行业应用生态。

从商业生态视角审视,这标志着一种“硬件即平台”的深度配件化战略。尽管苹果尚未为Vision Pro推出类似MFi的官方认证体系,但一旦开放硬件接口规范,其设备的功能边界与市场潜力将呈指数级扩张。专利设计图显示,未来的设备主体可能精简为一个承载核心算力、供电与数据总线的基础框架,主要提供精密的机械锁扣与高速通信接口,所有感知、显示与交互模块均以此为基础进行构建。这或许正定义了下一代“真正可穿戴”设备的终极形态。


这就是苹果Vision Pro头显模块化专利曝光,要续航还是体验由你定的全部内容了,希望以上内容对小伙伴们有所帮助,更多详情可以关注我们的菜鸟游戏和软件相关专区,更多攻略和教程等你发现!

热搜     |     排行     |     热点     |     话题     |     标签

手机版 | 电脑版 | 客户端

湘ICP备2022003375号-1

本站所有软件,来自于互联网或网友上传,版权属原著所有,如有需要请购买正版。如有侵权,敬请来信联系我们,cn486com@outlook.com 我们立刻删除。